The New Russian OTs-142 5.45 Belt Fed LMG

Quick, reportedly light, and a little mysterious, the OTs-142 (original source designation) light machine gun has started circulating through Russian forums and Telegram accounts as the latest experimental entry in Tula’s long line of OTs projects.
OTs is an abbreviation for “weapon of the Central Design and Research Bureau of Sporting and Hunting Arms”. Official information is unavailable and left to open-source release, so we must decipher what they provided; the original source is from a Telegram account: https://t.me/super_rembo/9624.
What we can do is assemble the clearest picture available: the OTs-142 appears to be a compact, squad-level belt-fed support weapon in the same family of experiments that produced the OTs-124 and OTs-128 (the Alatau-family projects which I covered earlier), where designers at TsKIB SOO and related Tula bureaus have been rethinking how to deliver automatic fire with modern ergonomics and unusual feed arrangements.
These systems were based on the MTs-566 semiautomatic designated marksmen rifle. The OTs line is known for unconventional solutions, bottom feeding, proprietary link designs, and ammo boxes that do more than carry ammunition, and the OTs-142 seems to follow that lineage. So essentially, the 5.45x39 OTs-142 is a smaller version of the .308 OTs-124. However, it fills the squad's automatic weapon role.
The Gun
Unlike traditional light machine guns, the new OTs-142 prioritizes fast reloads and capacity by its micro caliber legacy chambering. Based on the Alatau program’s visible prototypes, the emphasis is on uninterrupted 12 o’clock M1913 rail for optics and enablers. Most important is the unique feed system designed to keep the gunner firing by getting the gun back in action quickly instead of breaking contact to perform lengthy reloads, reducing reload times for gunners under stress.
The OTs-142 is chambered in 5.45x39mm, its weight has not been released yet, and it can sport 13, 16.3, and 20.5-inch (330, 415, and 520mm) barrels to fit different mission sets for a belt-fed weapon, and is said to be lighter than the RPK-74 and RPL-21. If accurate, they indicate a weapon is intended for a squad automatic weapon role where the volume of fire to provide suppression is required to help enable maneuver. The chambering gives capacity and gives the LMG the ability to suppress and support operations longer, though with a reduced effective range compared to a GPMG.
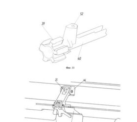
From the Alatau relatives (OTs-124/128), we can infer several likely features: bottom or otherwise unconventional feed geometry that integrates the ammo box with part of the feed mechanism, including the feed ramp, feed paws, and cartridge guides, with the first cartridge presented on the feed ramp. This concept turns the ammunition box into a large box magazine, where the magazine is inserted, and the weapon is racked to chamber a cartridge. The Alatau designs also explored using the ammo box as part of the feed/cover arrangement rather than a feed tray and feed tray cover, a design choice that trades some complexity for a slimmer receiver profile and faster reloads.
One feature of this new concept is that the metallic non-disintegrating empty belt goes back into the soft ammo box when the weapon fires. This eliminates an empty belt hanging out of the gun. Retaining the belt makes it easy to reuse, though it could lead to issues while feeding a loaded belt and getting caught up with the empty section coming back into the ammunition pouch.
The available video shows that the gun fires from the open bolt using a reciprocating charging handle and ejects from the right side of the gun. The weapon's operating system matches the earlier patent RU2767387C1, which uses a PK-type feed arm assembly on the left side of the receiver to feed the belt into the gun.
Tactical intent and where OTs-142 might fit
The OTs-142 offers squads a higher-volume, more controllable automatic option that prioritizes quick reloads to get the gun back in the fight, primarily during an assault. As Russian machine gun trends move towards more assault machine guns, a 5.45-based LMG would offer ammo compatibility (though it uses proprietary belts) with standard assault rifles and lighter ammunition for increased available volume of suppression. The concept would give assault teams an advantage in suppressing objectives and quickly reloading to keep guns up, suppressing an objective as they maneuver to take the objective. So there is merit to the concept.
Two reasons drive interest. First, the OTs series represents an unusual design among Russian engineers: bold departures from classic feed-tray machine-gun layout and an emphasis on quick reload speed. Second, there is the real estate of optics and enablers. Even if the OTs-142 remains a niche prototype, the concepts evolved from thinking about blending the volume of fire and modularity.
The OTs-142 is the result of the Alatau experimental machine guns. This program saw little publicly released information, so I went off available photos and the one publicly released video of the OTs-142. As usual with TsKIB SOO projects, the most reliable picture will arrive only if and when the bureau or state procurement channels publish formal specs or images. Until then, the OTs-142 remains a promising hint of where Russian small arms may be headed, not a finalized operational system.
Conclusion
The OTs-124/142 are a unique development, though not without their cons. The ammunition box is the weak link, with part of the feed assembly on the ammunition can/soft pouch. This can lead to easy damage in a realistic combat environment. On the upside, it speeds up reloads to keep the gun up. However, the system does not prioritize quick barrel changes from the information we have, as Russian doctrine and practice show. Once the cons are worked out to be reliable, I see this concept being feasible. As more information is released, I'll update this article.

Lynndon Schooler is an open-source weapons intelligence professional with a background as an infantryman in the US Army. His experience includes working as a gunsmith and production manager in firearm manufacturing, as well as serving as an armorer, consultant, and instructor in nonstandard weapons. His articles have been published in Small Arms Review and the Small Arms Defence Journal. https://www.instagram.com/lynndons
More by Lynndon Schooler
Comments
Join the conversation
It’s a very cool gun, and rather unique, but it’s gonna have an uphill battle to supplement and/or replace the PKM at the squad level.
The PKM just works for them. Its lighter than most, if not all, standard configuration legacy GPMGs (excluding the newer ones using exotic materials in limited production, although the M240L with its use of titanium is getting close to it) and they’ve been making and using them for a very long time.
As for the use of optics and other force multipliers, they don’t use them as much as other developed countries’ militaries do to begin with, and kits have been developed for the PKM to take the force multipliers for those in their units who are fortunate enough to get them. (Although like the standard AK, those kits tend to add a nontrivial amount of weight to the gun)
Also, they got themselves into quite the meat grinder of a war with their neighbor that they invaded for… reasons. Plus the overseas places where the Russian military and/or Wagner have been sent, they’ve been busy. Adding a new machine gun to their inventory AND actually sending the guns to the front lines is unlikely to be a priority for them at the moment, regardless of how good it is.
Pretty nifty.