Ruger Awarded Double Stack .22LR Magazine Patent

Daniel Y
by Daniel Y

A new patent from Ruger illustrates an exciting update to the classic 22/45 pistol. It seems that Ruger has developed a double-stack magazine! Let's take a look at the details.


Ruger @ TFB:


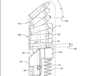
US Patent #12498189 depicts a double-stack magazine design for Ruger rimfire pistols. This is a single-feed design that widens into two columns in the lower portion of the magazine. The cartridge stack allows the rims to rotate out to the sides while keeping the bullet centered. The cartridges also rotate to face upward from the cartridge stack so they sit level with the action at the feed location.

Looking at the images in the patent, the magazine floorplate is the width of the frame on the 22/45 pistol. These images do not have dimensions on them, but the overall layout of the gun looks very similar to existing models. If a new frame design can accept these magazines without changing the external dimensions, it will be a boon to shooters who are accustomed to shooting these guns. Also, if the frame fits a standard upper, this could be sold as an aftermarket item to add to current 22/45 pistols built on the Mark 4 architecture. And because the upper is the serialized component instead of the lower on these guns, it could be sold as an accessory without a background check! We don’t know any of this for sure yet, so don’t make plans with this information. But our hopes are up, too.

The images and application to Ruger pistols like a 22/45 are obvious, but the patent is much broader than that specific design. Rather than being a patent on one particular pistol magazine, this is a patent for a method of stacking rimmed cartridges in a detachable magazine. The patent mentions .22 WMR, .30-30, and 7.62x54r as other rimmed cartridges where this design could be used. Who needs a double-stack .30-30 magazine? I don’t know. Maybe someone out there would find a use for that.

All images from public records

We all owe a big thank you to my friends at Next Shot Precision for bringing this to our attention.

Daniel Y
Daniel Y

AKA @fromtheguncounter on Instagram. Gun nerd, reloader, attorney, and mediocre hunter.

More by Daniel Y

Comments
Join the conversation
3 of 19 comments
  • Uncle albert Uncle albert on Dec 30, 2025

    Normal "Bowling Pin" match rules limit .22's to 10 rounds as a standard, uniform rule, so I'm not sure where this would come into play. And since some states STILL have capacity limits (get to work on this Supreme Court!) the existing 10 round mags are fine.

    But at least it shows somebody is thinking, even if it would have never flown when the "Old Man" was still alive. Folks were fired for suggesting that the mag release needed to be moved ! (pre-22-45)

    NOW.......if these mags will fit & work in EXISTING .22-45's, they WILL sell like beer at a free taco stand ! (never enough mags or ammo)

    • Jef138906343 Jef138906343 on Dec 30, 2025

      You can always put 10 rounds in an 11 round mag. You can't put 11 in a 10 round mag.

  • Daj138378274 Daj138378274 on Jan 04, 2026

    Sounds like they have plans for mag fed bolt or lever guns

Next